第二章 音乐室 1(第3/4页)
“我们去查过竹宫先生的房间,那里也有个拼了一半的拼图,名叫‘拾穗者’。”
警察说完又催胜之出门,胜之微微点了点头,离开了会客室。
之后每个人都被单独叫走,最后被叫走的是水穗,她在餐厅一角接受问讯。
两名警察坐在水穗对面。一名是刚才那位胖警察,姓山岸;还有一名瘦瘦的警察,姓野上。山岸看起来四十出头,野上看上去三十岁左右。两人的表情都十分严肃。
“昨晚您是几点回到房间的?”山岸问,声音低沉而威严。
“大概是十一点刚过吧。”
“您自己回去的?”
“不,和佳织一起。”
山岸点了点头,这些情况他应该已经问过佳织。“之后您就一直待在房间里?”
“是的。我和佳织聊天聊到十一点半左右,然后我送她回房,接着就洗澡睡觉了。”
“夜里有没有醒来过?”
“有。”
水穗的话让两名警察眼里放出光芒。
“几点醒的?”山岸问道。
“我不确定准确时间。醒来之后读了会儿书,然后去厨房拿了一听啤酒,回来时已经三点了。”

“您醒来是因为听到了什么声响吗?”
“不是。不知为什么就醒了,也许是暖气太热了吧。”水穗仔细回忆着,谨慎地答道。
“这样啊,这儿的确很暖和。”山岸说着环顾室内,又问,“您下楼拿啤酒时,有没有发现什么异常?比如听到什么声响、看见什么东西、碰见谁等等。”
“刚醒来之后打开窗户时,倒是看到了让我有点意外的情形。”水穗告诉警察,宗彦的房间里好像亮起了灯。
他们探出身子,问:“灯大概亮了多长时间?”
“不清楚……也就十几秒吧。”
“没有看到人影吗?”
“没有。”
“那之后一直到您睡着,没有听到任何声响吗?”
“没有,很抱歉。我的房间在南侧。”
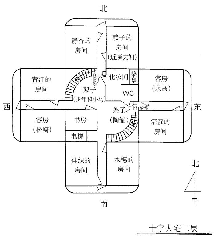
山岸没能马上明白水穗的意思,但他很快反应过来,点了点头:“明白了。案件发生在北侧的地下室,离您的房间最远。”
一旁的野上也边记录边点头。
“那回到刚才的话题,昨晚十一点您回房间前,宗彦先生在哪里,在做什么?”
水穗用手指抵着嘴唇,回忆昨晚的情形,说:“晚饭后,他很快就去了会客室。”
警察点点头问:“您知道宗彦先生昨晚打算去音乐室吗?”
“不知道。”
“您知道他有这样的习惯吗?”
“也不知道。”水穗摇头答道,接着她又看着警察,问,“其他人……比如近藤姨父他们是怎么说的?”
警察没想到她会提问,有些意外地答道:“其他人都知道他有睡前一到两个小时去音乐室听古典乐的习惯,只是大家都说昨晚他应该没打算去,因为好几个人都看到他离开会客室后直接回到了自己的房间。”
“那么,宗彦姨父是等大家都睡下后,再偷偷去的音乐室?”
“目前看来是这样。刚才您说半夜三点前宗彦先生的房间亮起了灯,也许他就是那时离开的房间。”
水穗回忆着当时的情形。假如真是这样,自己如果能够早点下楼拿啤酒,情况可能就完全不同了。
山岸刻意清了清嗓子,又问:“听说您有一年半没有来这里,一直在国外?”
“是的。”水穗放低了视线,“我在澳大利亚待了一年,最近刚回来。先父的朋友在澳大利亚开了分公司,我在那儿工作。出去是为了多体验一下社会。”
“原来如此。最近的女孩子的确都很有闯劲啊。那么,直到最近一段时间您和其他人都没有见过面?”
“是的。有时佳织会给我写信聊聊近况。”
“时隔一年半,您见到宗彦先生时聊了什么?”
“都是些无聊的话。他问我什么时候结婚,我搪塞过去了。他也不是真的关心。”
“您对宗彦先生的印象怎么样?和以前相比有没有变化?”
“这……”水穗歪着头想了想,“不知道。我没注意到。”
“三田理惠子女士,就是死在宗彦先生身边的那位,您和她见过吗?”
“昨天是第一次见面,互相介绍了一下,没有说别的话。”